INMP441 MEMS microfone Omnidirecional i2S
INMP441 MEMS microfone Omnidirecional i2S
INMP441 MEMS microfone Omnidirecional i2S
INMP441 MEMS microfone Omnidirecional i2S
INMP441 MEMS microfone Omnidirecional i2S
INMP441 MEMS microfone Omnidirecional i2S
INMP441 MEMS microfone Omnidirecional i2S
INMP441 MEMS microfone Omnidirecional i2S
INMP441 MEMS microfone Omnidirecional i2S
INMP441 MEMS microfone Omnidirecional i2S
INMP441 MEMS microfone Omnidirecional i2S
INMP441 MEMS microfone Omnidirecional i2S

INMP441 MEMS microfone Omnidirecional i2S

TDK InvenSense
 

Módulo INMP441 – Microfone MEMS Omnidirecional I2S

O INMP441 é um microfone MEMS digital de alta performance que utiliza interface I2S, permitindo capturar áudio com excelente qualidade e baixo ruído diretamente por microcontroladores modernos como ESP32, RP2040, STM32, entre outros.
Por ser omnidirecional, ele capta som igualmente em todas as direções, tornando‑o ideal para gravação ambiente, reconhecimento de voz, detecção de ruído e aplicações de áudio digital.

O módulo converte o sinal acústico diretamente em dados digitais, eliminando a necessidade de amplificadores analógicos, filtros ou conversores ADC externos.

Características Principais

  • Tipo: Microfone MEMS digital
  • Interface: I2S (não é analógico)
  • Direcionalidade: Omnidirecional
  • Faixa de frequência: 60 Hz a 15 kHz (típico)
  • SNR (Relação sinal‑ruído): ~61 dB
  • Sensibilidade: –26 dBFS (típico)
  • Tensão de operação: 1,8 V a 3,3 V (módulo geralmente alimentado com 3,3 V)
  • Consumo: extremamente baixo
  • Saída: Dados digitais PCM via I2S
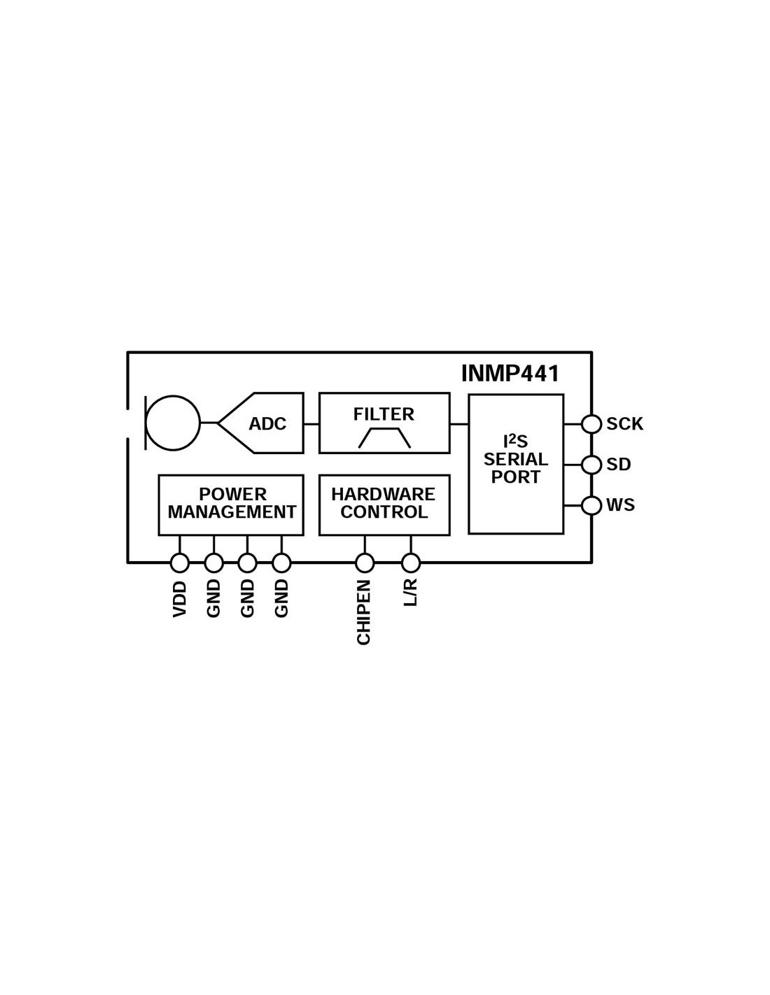
  • Pinos:
  • SCK – Clock
  • WS – Word Select (LRCLK)
  • SD – Dados
  • L/R – Seleção de canal (esquerda/direita)
  • 3V3 – Alimentação
  • GND – Terra

🧩 Vantagens do INMP441

  • Não precisa de amplificador ou ADC externo
  • Imune a ruído analógico
  • Excelente estabilidade e linearidade
  • Fácil integração com ESP32 e microcontroladores modernos
  • Ideal para captura de áudio limpa e digital

📦 Aplicações Típicas

  • Assistentes de voz (Alexa‑like)
  • Reconhecimento de fala
  • Gravação de áudio digital
  • Medição de nível de ruído
  • Projetos IoT com captação sonora
  • Análise de espectro (FFT)
  • Microfones para robótica e automação
No reviews

1 outro produto na mesma categoria:

Product added to wishlist
Product added to compare.

iqitcookielaw - module, put here your own cookie law text